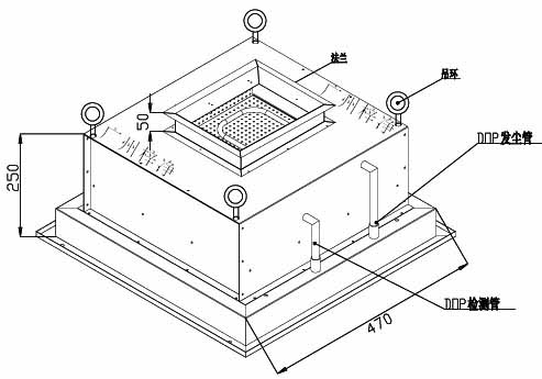
DOP液槽式高效送风口包含静压箱,散流板,液槽高效过滤器,和风阀。与风管的接口可为顶接或侧接。
DOP液槽密封式高效送风口设计进一步增强其密封性和独特性。配套使用我司自产的液槽高效过滤器的框架周围有密封胶槽。
在安装过程中,装有密封胶槽与箱体四周的刀边相嵌套形成气密密封。且在更换过滤器的过程中密封胶不会黏着在箱体四周的刀边上。

DOP液槽式高效送风口也叫DOP高效送风口9299cc百瑞彩票、DOP高效过滤器送风口静压箱、统称为DOP送风口,是高效过滤器应用于送风系统中的中间装置,目的是为了空气在通过高效过滤器之前获得理想的静压,使高效过滤器得到合理使用。
其特点是结构紧凑、性能可靠、通风性强、安装方便、维护简单。
9299cc百瑞彩票DOP、压差检测口,液槽、下调式风阀,旋流等各类扩散面板,一应俱全。
DOP液槽式高效送风口为千级、万级、十万级净化空调系统较为理想的终端过滤装置,是满足净化要求的关键设备,可广泛于医药、卫生、电子、化工等行业的净化空调系统。
DOP液槽式高效送风口产品特点:
1、整体密封设计,从设计上彻底杜绝上下流泄漏的可能。
2、冷轧钢板焊接,并做打胶密封处理,箱体表面采用静电喷塑处理,耐腐蚀性强。
3、特殊的风阀调节装置,在风口底部可方便调节风量。
4、独特的液槽密封方式,自带PAO发尘口和浓度取样口,完全满足新版GMP-E规范要求。

DOP液槽式高效送风口优点:
1、液槽送风口采用刀边型插入液槽过滤器的果冻胶内实现密封,避免了送风从安装间隙处泄漏,可一次性的通过DOP发尘的完整性检测;
2、液槽送风口上安装两个DOP接头,一个发尘,一个检测,方便用户在过滤器出风面对单台过滤器进行DOP发尘检测和测试高效过滤器的压差,快拆接头下接的软管通到箱体底,这样可以保证过滤器上游发尘浓度均匀;
3、旋转式压块,方便过滤器的安全、快速更换;液槽密封保证更换过滤器无泄漏;
4、液槽送风口跟普通送风口一样,可以做GH320,GH484,GH610,GH630,GH726,GH915,GH968,GH1220,GH945,GH1260等标准型,同时尺寸也可以根据客户的要求制作。
DOP液槽式高效送风口构成特点:
箱体材质:冷轧钢板静电喷塑,可以提供不锈钢或者铝板材质散流板:冷轧钢板静电喷塑,可以提供不锈钢材质散流板类型:散流面板,可以提供圆孔板、漩涡扩散板或四路散射板配备过滤器:液槽型高效过滤器过滤器滤料:超细玻璃纤维过滤器效率:H13/H14/U15三种效率可供选择液槽胶:聚亚氨酯胶密封胶:阻燃性聚氨酯胶分隔物:热塑性胶护面网:喷塑钢板网。

DOP液槽式高效送风口与高效过滤器尺寸参数:
常规顶接
DOP液槽式高效送风口箱体尺寸:375×680×250;液槽式高效过滤器尺寸:305×610×69 额定风量500m。
nDOP液槽式高效送风口箱体尺寸:680×680×250;液槽式高效过滤器尺寸:610×610×69 额定风量1000m。
9299cc百瑞彩票DOP液槽式高效送风口箱体尺寸:680×985×250;液槽式高效过滤器尺寸:610×915×69 额定风量1500m。
9299cc百瑞彩票DOP液槽式高效送风口箱体尺寸:680×1290×250;液槽式高效过滤器尺寸:610×1220×69 额定风量2000m。
常规侧接
9299cc百瑞彩票DOP液槽式高效送风口箱体尺寸:375×680×400;液槽式高效过滤器尺寸:305×610×69 额定风量500m。
9299cc百瑞彩票DOP液槽式高效送风口箱体尺寸:680×680×400;液槽式高效过滤器尺寸:610×610×69 额定风量1000m。
9299cc百瑞彩票DOP液槽式高效送风口箱体尺寸:680×985×400液槽式高效过滤器尺寸:610×915×69额定风量1500m3。
DOP液槽式高效送风口箱体尺寸:680×1290×450;液槽式高效过滤器尺寸:610×1220×69 额定风量2000m。
旋流顶接
DOP液槽式高效送风口箱体尺寸:520×520×250;液槽式高效过滤器尺寸:450×450×69 额定风量500m。
DOP液槽式高效送风口箱体尺寸:680×680×250;液槽式高效过滤器尺寸:610×610×69 额定风量1000m。
DOP液槽式高效送风口箱体尺寸:830×830×250;液槽式高效过滤器尺寸:762×762×69 额定风量1500m。
9299cc百瑞彩票DOP液槽式高效送风口箱体尺寸:940×940×250;液槽式高效过滤器尺寸:870×870×69 额定风量2000m。
旋流侧接
DOP液槽式高效送风口箱体尺寸:520×520×400;液槽式高效过滤器尺寸:450×450×69 额定风量500m3。
9299cc百瑞彩票DOP液槽式高效送风口箱体尺寸:680×680×400;液槽式高效过滤器尺寸:610×610×69 额定风量1000m3。
9299cc百瑞彩票DOP液槽式高效送风口箱体尺寸:830×830×400;液槽式高效过滤器尺寸:762×762×69 额定风量1500m3。
DOP液槽式高效送风口箱体尺寸:940×940×400;液槽式高效过滤器尺寸:870×870×69 额定风量2000m3。
注:DOP液槽式高效送风口接风管尺寸说明:
额定风量500m接风管尺寸200*200mm/ϕ200
9299cc百瑞彩票额定风量1000m接风管尺寸200*320mm/ϕ300
额定风量1500m 接风管尺寸200*400mm/ϕ350
9299cc百瑞彩票额定风量2000m3/h 接风管尺寸250*500mm/ϕ400

高效过滤器送风口四件套分类:
其实高效过滤器送风口也叫高效送风口,是洁净室末端必不可少的净化设备,按结构又划分为多种不同类型的高效送风口。
高效送风口主要包含有四件套,梓净牌空气过滤器技术会同大家一起探讨主要包括了哪四件套。
高效送风口是用以和新建千级、万级、十万级及各级洁净室净化工程的终端空气过滤设备,满足净化要求的关键设备,可广泛于医药、卫生、电子、化工等行业的净化空调系统。高效送风口箱体表面为冷扎钢板多层酸洗静电喷涂而成,出风口均有良好的气流,确保净化的效果。高效送风口制作常用板材有冷轧钢板(A3板)与不锈钢板(SUS201,SUS304,SUS316等)。厚度一般为0.8~1.5mm。(高效送风口制作属于薄板焊接,对焊工焊接技术及打磨技术要求较高。
高效送风口四件套主要为:
A、高效送风口静压箱体,材质有冷轧钢板(A3板)与不锈钢板。箱体是用作吊在天花上与四周库板相结合密封,也是高效送风口四件套主体。
B、法兰。法兰是用来与送风机组风管接口连在一起,有侧面连接或顶部接两种可选法兰。
C、高效过滤器是高效送风口新风送入起到过滤作用再送出,过滤效率为99.99-99.999%@0.3μm 。
D、出风口散流板是用作新风经过滤后从出风口散流板送向四周,出风口散流板冲孔时需选用先进的数控冲床,精确度在±0.01mm能保证散流板送风均匀。推荐阅读:顶送风高效送风口 侧送风高效送风口

售后服务时间要求:
不管是有偿售后服务还是无偿售后服务,客户把设备需要售后的问题反馈到梓净,在我司出方案,客户确认方案后:
1、珠江三角洲、长江三角洲范围内24小时内到达现场解决售后服务问题;
2、其他地区一般48小时内到达现场解决售后服务问题,特殊偏远地区最长96小时内到达现场解决售后服务问题。
原文来源:广州梓净http://kappatre.com/李工(139-2875-8616)
